彩票平台推荐

行政审批事项及流程图-铜官区人民政府

彩票平台推荐

您现在所在的位置: 网站首页> 政府信息公开首页 > 生态环境分局> 行政权力运行> 行政权力清单
索引号: 003101085/202012-00028 组配分类: 行政权力清单
发布机构: 铜官区生态环境分局 主题分类: 城乡建设、环境保护 / 公民 / 其他
名称: 行政审批事项及流程图 文号:
发布日期: 2021-12-31 有效性: 有效
行政审批事项及流程图
发布时间:2021-12-31 15:09 来源:铜官区生态环境分局 浏览次数: 字体:[ ] 文本下载

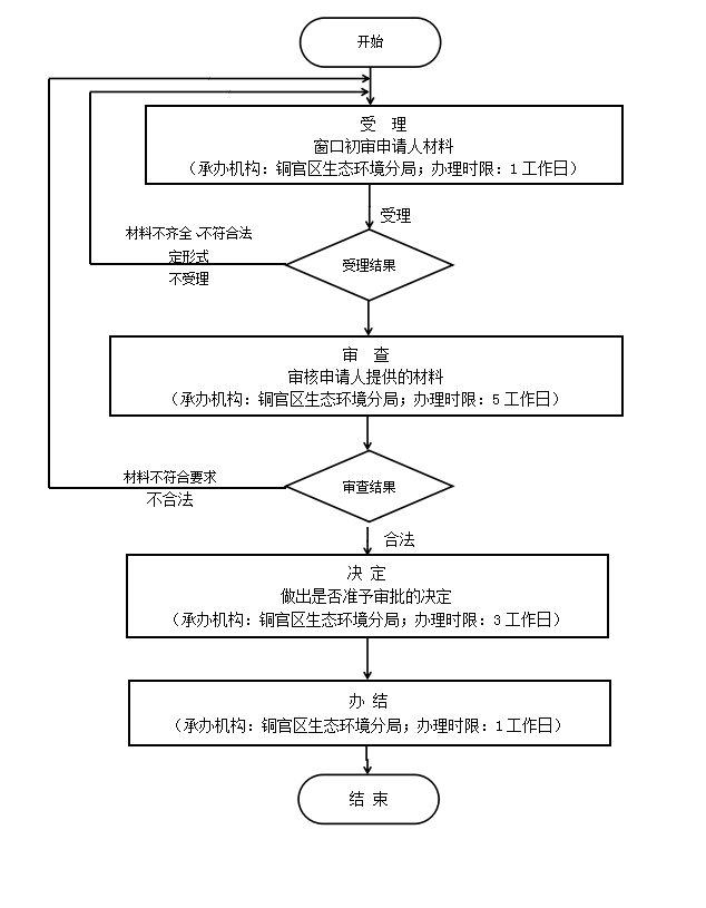
 环境影响报告表审批流程图





环境影响报告书审批流程图


危险废物经营许可审批流程图



污染防治设施的拆除与闲置许可审批流程图



排污许可证核发审批流程图







十大博彩公司官方网站-网上十大博彩公司网站 网络十大博彩app下载-世界十大博彩app下载 靠谱买球app推荐-足球买球app推荐 赌钱娱乐-线上赌钱-线上赌钱平台 网上买球线上平台 - 首页 蚂蚁超级镜像 批量镜像网站 蚪侠镜像站群 整站镜像下载 站群克隆软件 镜像站群系统 镜像网站程序 批量镜像网站 镜像网站程序 >网站地图-sitemap