彩票平台推荐
社会保险费延缴申请办事指南-铜官区人民政府
彩票平台推荐
铜官区人力资源和社会保障局
长者版
|
无障碍
您现在所在的位置:
网站首页
>
政府信息公开首页
>
人力资源和社会保障局
>
社会保险领域
>
社会保险缴费申报
>
社会保险缴费延期申请
索引号:
11340705MBOX89252J/202504-00050
组配分类:
社会保险缴费延期申请
发布机构:
铜官区人力资源和社会保障局
主题分类:
综合政务 / 公民 / 其他
名称:
社会保险费延缴申请办事指南
文号:
发布日期:
2025-04-17
有效性:
有效
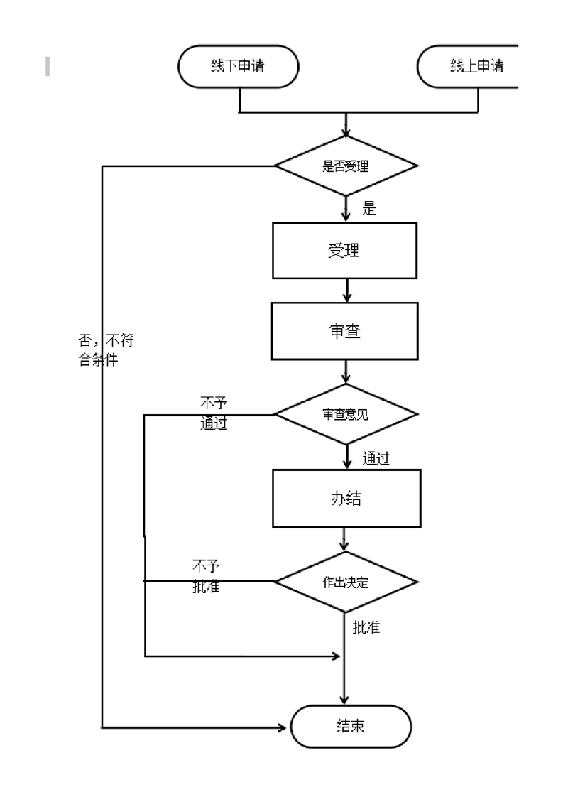
社会保险费延缴申请办事指南
发布时间:2025-04-17 15:51
来源:铜官区人力资源和社会保障局
浏览次数:
字体:[
大
中
小
]
文本下载
用微信扫描二维码
分享至好友和朋友圈
×
十大博彩公司官方网站-网上十大博彩公司网站
网络十大博彩app下载-世界十大博彩app下载
靠谱买球app推荐-足球买球app推荐
赌钱娱乐-线上赌钱-线上赌钱平台
网上买球线上平台 - 首页
蚂蚁超级镜像
开源整站镜像工具
镜像站群霸屏
镜像程序
MirrorElfR
镜像小偷
蚂蚁镜像站群
干扰字符镜像
关键词转码站群
>网站地图-sitemap