彩票平台推荐

西湖镇村级小微权力运行图-铜官区人民政府

彩票平台推荐

您现在所在的位置: 网站首页> 政府信息公开首页 > 西湖镇> 行政权力> 乡镇级政府权力清单和责任清单
索引号: 734985531/202012-00042 组配分类: 乡镇级政府权力清单和责任清单
发布机构: 铜官区西湖镇 主题分类: 综合政务 / 公民 / 其他
名称: 西湖镇村级小微权力运行图 文号:
发布日期: 2020-12-23 有效性: 有效
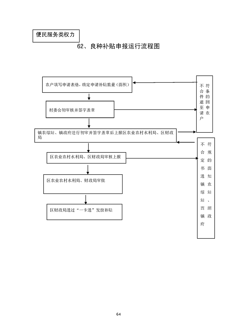
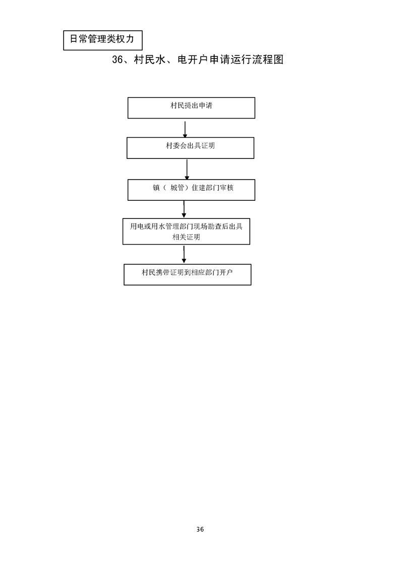
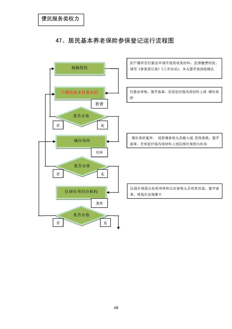
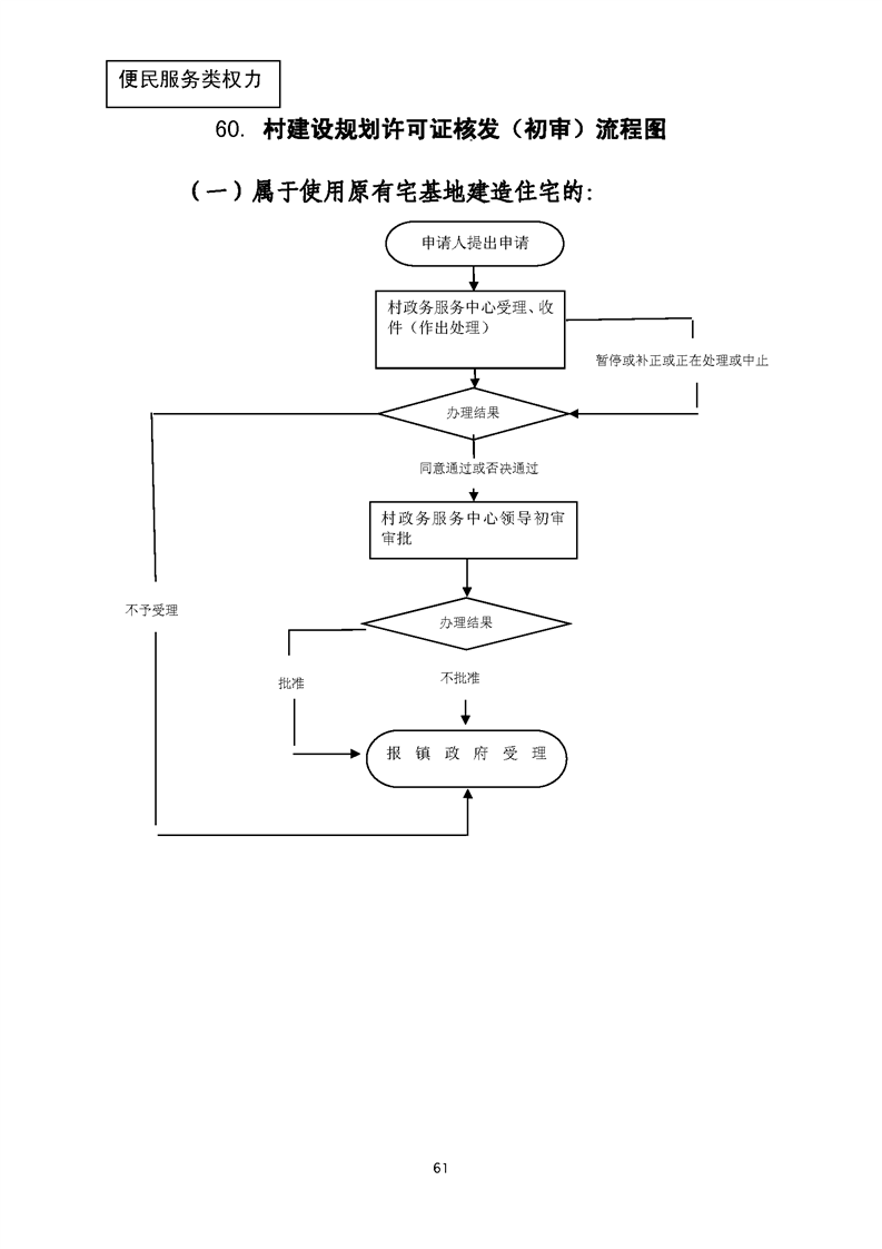
西湖镇村级小微权力运行图
发布时间:2020-12-23 15:07 来源:铜官区西湖镇 浏览次数: 字体:[ ] 文本下载





































































十大博彩公司官方网站-网上十大博彩公司网站 网络十大博彩app下载-世界十大博彩app下载 靠谱买球app推荐-足球买球app推荐 赌钱娱乐-线上赌钱-线上赌钱平台 网上买球线上平台 - 首页 蚪侠镜像站群 网站离线镜像 站点克隆软件 时间因子转换镜像 蜘蛛池+镜像 站点克隆软件 整站下载器 蚂蚁镜像站群 蚂蚁超级镜像 >网站地图-sitemap