彩票平台推荐
行政处罚类流程图-铜官区人民政府
彩票平台推荐
铜官区民政局
长者版
|
无障碍
您现在所在的位置:
网站首页
>
政府信息公开首页
>
民政局
>
行政权力运行
>
行政处罚
索引号:
11340705MB0N91097N/202401-00038
组配分类:
行政处罚
发布机构:
铜官区民政局
主题分类:
民政、扶贫、救灾 / 公民 / 其他
名称:
行政处罚类流程图
文号:
无
发布日期:
2024-01-05
有效性:
有效
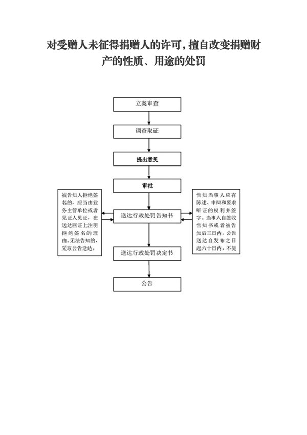
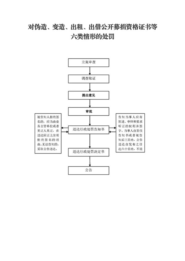
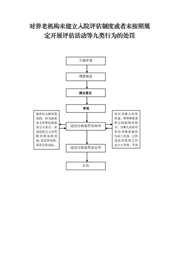
行政处罚类流程图
发布时间:2024-01-05 15:33
来源:铜官区民政局
浏览次数:
字体:[
大
中
小
]
文本下载
用微信扫描二维码
分享至好友和朋友圈
×
附件:20240805164209040007.png【107.73 KB】
十大博彩公司官方网站-网上十大博彩公司网站
网络十大博彩app下载-世界十大博彩app下载
靠谱买球app推荐-足球买球app推荐
赌钱娱乐-线上赌钱-线上赌钱平台
网上买球线上平台 - 首页
递归网站下载
镜像站群
蜘蛛池+镜像
镜像站群系统
网页镜像工具
站点克隆软件
泛目录+镜像
网站离线镜像
MirrorElf
>网站地图-sitemap